مباشر
ثورة في تصميم السيارات الصينية بقيادة مصممي الغرب.. من التقليد إلى الإبداع! من المكانس إلى الهايبركار.. Dreame تكشف Kosmera بقوة 1876 حصان! مرسيدس تلغي محركات الـ4 سلندر في نماذجها بعد تراجع المبيعات الصين تحظر بيع السيارات بخسارة وتضع نهاية لحرب الأسعار في أكبر سوق سيارات في العالم خسائر 65 مليار دولار تهزّ صناعة السيارات الكهربائية وتعيد محركات البنزين إلى الواجهة فولكس فاجن تستعد لأكبر إعادة هيكلة في تاريخها بخطط لخفض التكاليف 20٪ بحلول 2028 أكيو تويودا: لو كان القرار بيدي.. لكانت تويوتا تبيع فقط سيارات الأداء الساخنة من سيارات الركاب إلى حصون إسرائيل.. كيف تتحول فولكس فاغن لدعم القبة الحديدية؟ تصريح صادم من رئيس شركة هوندا “لا فرصة أمامنا” بعد تفوق الصين في السيارات الكهربائية هل تنخفض أسعار السيارات في مصر بعد تراجع الدولار وهدوء التوترات الجيوسياسية؟ بورش تكشف جير ثوري جديد يجمع بين المانيوال والأوتوماتيك في نظام واحد! وزير الماليةالمصري 5.5 مليار جنيه لدعم صناعة السيارات ضمن خطة لتعميق التصنيع المحلي
بي إم دبليو تسجل برغي “مستحيل الفك”.. لحماية السيارة أم لاحتكار الصيانة؟

بي إم دبليو تسجل برغي “مستحيل الفك”.. لحماية السيارة أم لاحتكار الصيانة؟

مشاركة:

قبل 4 أشهر

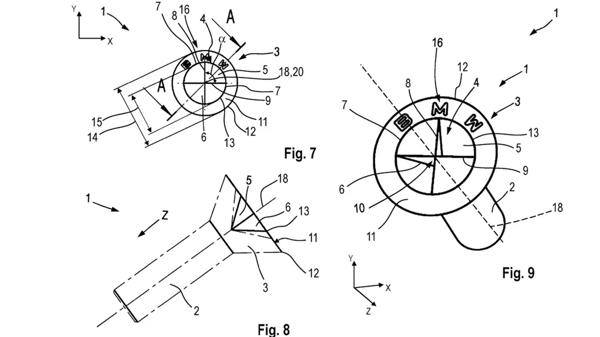
أثارت شركة بي إم دبليو (BMW) جدلًا واسعًا بعد تسجيل براءة اختراع جديدة لبرغي يحمل شعارها الرسمي، صُمم بطريقة غير تقليدية قد تجعل من المستحيل على مالكي السيارات أو الورش المستقلة فكّه بدون أدوات خاصة من الشركة.

البراءة التي ظهرت في وثائق المنظمة العالمية للملكية الفكرية (WIPO) تكشف أن رأس البرغي يحمل شكل شعار بي إم دبليو المكون من أربعة أرباع، ما يجعله غير متوافق مع المفكات المعتادة مثل Torx أو Phillips. هذا التصميم يعني ببساطة أن أي محاولة لإصلاح السيارة خارج مراكز الخدمة المعتمدة ستكون شبه مستحيلة بدون أداة خاصة من الشركة.


ابتكار تقني أم خطوة لتقييد المستهلكين؟

توضح بي إم دبليو أن الهدف من التصميم هو منع العبث بالأجزاء الحساسة داخل السيارة وضمان الحفاظ على جودة الصيانة ومعايير الأمان.
لكن كثيرًا من الخبراء والمستهلكين يرون في هذا الابتكار محاولة لتقييد “حق التصليح”، وهو المبدأ الذي يطالب به مستخدمون حول العالم للسماح لهم بصيانة أجهزتهم وسياراتهم بحرية دون قيود من الشركات المصنعة.

ويرى محللون أن هذا الاتجاه يعزز اعتماد المالكين على مراكز الخدمة الرسمية، ما قد يؤدي إلى ارتفاع تكاليف الصيانة بشكل ملحوظ، خصوصًا في ظل تعقيد التقنيات الحديثة داخل السيارات.

ابتكار تقني أم خطوة لتقييد المستهلكين؟

توضح بي إم دبليو أن الهدف من التصميم هو منع العبث بالأجزاء الحساسة داخل السيارة وضمان الحفاظ على جودة الصيانة ومعايير الأمان.
لكن كثيرًا من الخبراء والمستهلكين يرون في هذا الابتكار محاولة لتقييد “حق التصليح”، وهو المبدأ الذي يطالب به مستخدمون حول العالم للسماح لهم بصيانة أجهزتهم وسياراتهم بحرية دون قيود من الشركات المصنعة.

ويرى محللون أن هذا الاتجاه يعزز اعتماد المالكين على مراكز الخدمة الرسمية، ما قد يؤدي إلى ارتفاع تكاليف الصيانة بشكل ملحوظ، خصوصًا في ظل تعقيد التقنيات الحديثة داخل السيارات.

جدل واسع وتفاعل عالمي

منصات التواصل الاجتماعي امتلأت بالتعليقات الساخرة والانتقادات الحادة فور انتشار الخبر.
وصف البعض الفكرة بأنها “برغي ضد الحرية”، بينما قال آخرون إن السوق سيجد طريقه قريبًا بتطوير أدوات مخصصة لهذا النوع من البراغي، تمامًا كما حدث مع شركات التقنية التي استخدمت تصاميم مماثلة سابقًا.

حتى الآن، لم تؤكد بي إم دبليو نيتها إدخال هذا البرغي إلى خطوط الإنتاج، لكن تسجيل البراءة وحده كافٍ لإشعال نقاش واسع حول مستقبل الصيانة وحرية المستهلكين في التعامل مع سياراتهم.


معرض الصور